联系我们
上海中美自控阀门有限公司
公司电话:021-66368888
公司传真:021-51686637
邮箱:2880665957@qq.com
地址:月浦工业区园和路301号
快速报价通道
扫一扫,立刻获取价格
| 气动三偏心蝶阀的工作原理 |
| 发布时间:2017-03-18 13:47:32 | 浏览次数: |
气动三偏心蝶阀是由三偏心蝶阀阀体和气动执行器组成,由气动执行器带动三偏心蝶阀运转来调节阀门的开或关。气动三偏心蝶阀采用的是三维偏心原理设计,使密封面的空间运动轨迹达到理想化,密封面相互之间无磨擦、无干涉、加之密封材料选择得当,从而使三偏心蝶阀的密封性、耐腐蚀性、耐高温性和耐磨性等得到了可靠的保证。 三偏心蝶阀主要特点如下: 1、开启力矩小,灵活方便,省力节能。 2、三维编心结构,使蝶板越关越紧,其密封性能可靠,达到无泄漏。 3、耐高压、耐腐蚀、耐磨损、使用寿命长等。
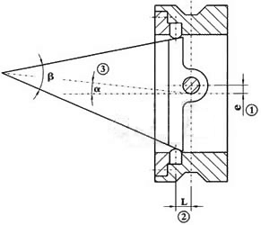
三偏心蝶阀的原理 1、偏离管道中心 2、偏离密封面中心 3、倾斜的锥形 当阀门开启时,蝶板与阀座在关闭时瞬间接触,利用蝶板偏心1、偏心2迅速脱离阀座,降低了密封副的磨损,磨擦力矩小,开启灵活。偏心锥面3,使阀门在开启或关闭时蝶板能通过阀座内孔,实现接触密封。另外,锥形蝶板的旋转半径大于密封副接触位置的旋转半径,故蝶板在阀门关闭时将出现越关越紧,能够实现自锁,防止蝶板过位。
此文关键词:气动三偏心蝶阀 工作原理 |
| 上一篇:气动蝶阀的安装方式 下一篇:气动法兰球阀型号字母代表 |





